清明假期期间,关于雄安新区的消息和报道,铺天盖地。雄安的一举一动,正吸引着全国乃至世界的瞩目。
关于雄安新区,当地人从中看到了改变和机遇;外地蜂拥而至的炒房客,看到的是财富与商机。一夜之间,“雄安”这个名字,传遍大江南北,无疑是最近中文世界的最热词汇之一。
“明星效应”之下,“雄安”两个字的含金量恐怕已是水涨船高,难以估量。
公司秘闻查阅发现,去年下半年,一家山东的公司,申请了多个分类的“雄安”商标。
有律师告诉公司秘闻,随着雄安新区的设立,根据相关法规,该公司对“雄安”商标的申请,有被驳回的可能。

本地人、外地人目前都无法在雄安新区买房。新京报记者王嘉宁摄
山东一公司申请40多个分类的“雄安”商标
4月2日,公司秘闻在一家第三方商标平台查询发现,多家公司正在申请或已经申请成功“雄安”商标。
其中,目前已有多家公司或个人申请注册“雄安”商标成功,包括上海永安锁具公司、永康雄安反光材料公司、重庆雄安保温工程有限公司等。
上海永安锁具申请“雄安”商标时间可以追溯到2005年,于2007年注册成功,其申请的是第7类“机械设备”;永康雄安注册成功时间是在2007年,其申请注册的是第24类“布料床单”;重庆雄安保温工程注册成功时间是在2015年6月,其申请的是第17类“橡胶制品”。
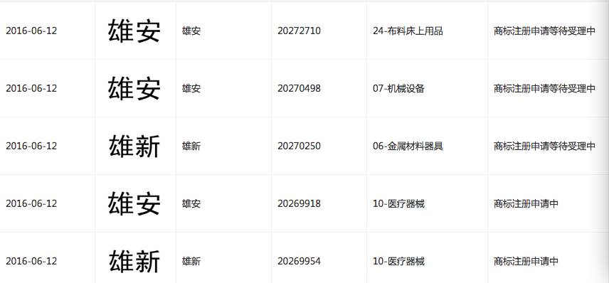
公司秘闻发现,2016年6月、12月,一家名为“山东沃团商贸有限公司”的企业,集中申请40多个分类的“雄安”商标,涉及分类从化学原料、颜料油漆到教育娱乐、餐饮住宿、医疗园艺等。

沃团商贸对雄安商标的申请状态
山东沃团商贸所申请的“雄安”商标,文字商标即为“雄安”二字,图案商标也是雄安二字,没有其它图形要素;目前状态显示为“商标注册申请等待受理中”或“商标注册申请受理通知书发文”。
申请者为一位互联网“创业明星”
工商信息显示,山东沃团商贸有限公司,地址为山东省淄博市高新区柳泉路鲁中晨报1213室,法定代表人为黄文广。
公开搜索中,基本没有关于山东沃团商贸的资料。有招商网站介绍称,沃团商贸与沃农宝公司,属于同一家集团。沃农宝公司的大股东为山东沃润德农业科技有限公司。后者由黄文广全资控股。
公开信息显示,黄文广生于1981年,淄博人,目前为山东沃润德农业科技有限公司董事长(以下简称沃润德)。

黄文广照片来自淄博统一战线网
沃润德旗下有一家农资连锁公司。公开介绍称,该农资公司目前拥有14000余个农资加盟店、覆盖山东省内55个区县。
淄博当地党媒报道称,2015年10月,在阿里云创客大赛中,黄文广领衔的沃农资电商平台夺得全国总决赛亚军。
据报道,黄文广制定的未来三年发展“路线图”为:山东省内50个区县深耕细作,实现四大版块省内互联互通;2018年启动省外市场,2019年覆盖全国,市场规模达到1000亿。
淄博市委统战部官网的信息显示,黄文广还被河南大学、山西大学等十几所院校聘为客座教授、特聘教授,“几年来为十几万在校大学生传授关于自主创业的经验。”
4月2日,公司秘闻,试图获知黄文广旗下公司大规模申请注册“雄安”商标的初衷。
一位办公室人士对公司秘闻称,黄文广最近时间安排比较紧,刚刚出访回来,很多事情也在等着他去做,不太方便接受采访。同时,公司秘闻委托一位与黄文广相熟的人士转达了采访问题,但未收到回复。


